
十字路口的交通指挥信号灯布置:一、控制要求(1)信号灯系统由一个启动开关控制,当启动开关接通时,该信号灯系统开始工作,当启动开关关断时,所有信号灯都熄灭。(2)南北绿灯和东西绿灯不能同时亮。如果同时亮......
十字路口的交通指挥信号灯布置:

一、控制要求
(1)信号灯系统由一个启动开关控制,当启动开关接通时,该信号灯系统开始工作,当启动开关关断时,所有信号灯都熄灭。
(2)南北绿灯和东西绿灯不能同时亮。如果同时亮应关闭信号灯系统,并立刻报警。
(3)南北红灯亮维持25s。在南北红灯亮的同时东西绿灯也亮,并维持20s。到20s时,东西绿灯闪亮,闪亮3s后熄灭,此时,东西黄灯亮,并维持2s。到2s时,东西黄灯熄灭,东西红灯亮。同时,南北红灯熄灭,南北绿灯亮。
(4)东西红灯亮维持30s。南北绿灯亮维持25s,然后闪亮3s后熄灭。同时南北黄灯亮,维持2s后熄灭,这时南北红灯亮,东西绿灯亮。
(5)以上南北、东西信号灯周而复始地交替工作状态,指挥着十字路口的交通,其时序如下所示。


二、PLC接线

三、定义符号地址

四、梯形图程序




三层楼电梯控制
电梯的上升、下降由一台电动机控制;正转时电梯上升、反转时电梯下降。各层设一个呼叫开关(SB1、SB2、SB3)、一个呼叫指示灯(H1、H2、H3)、一个到位行程开关(ST1、ST2、ST3)。

一、控制要求:
(1)各层的呼叫开关为按钮式开关,SB1、SB2及SB3均为瞬间接通有效
(即瞬间接通的即放开仍有效)。
(2)电梯箱体上升途中只响应上升呼叫,下降途中只响应下降呼叫,任何反方向呼叫均无效,简称为不可逆响应。具体动作要求,如下表。
(3)各楼层间有效运行时间应小于10S,否则认为有故障、自动令电动机停转。





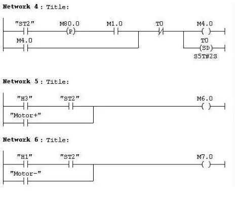
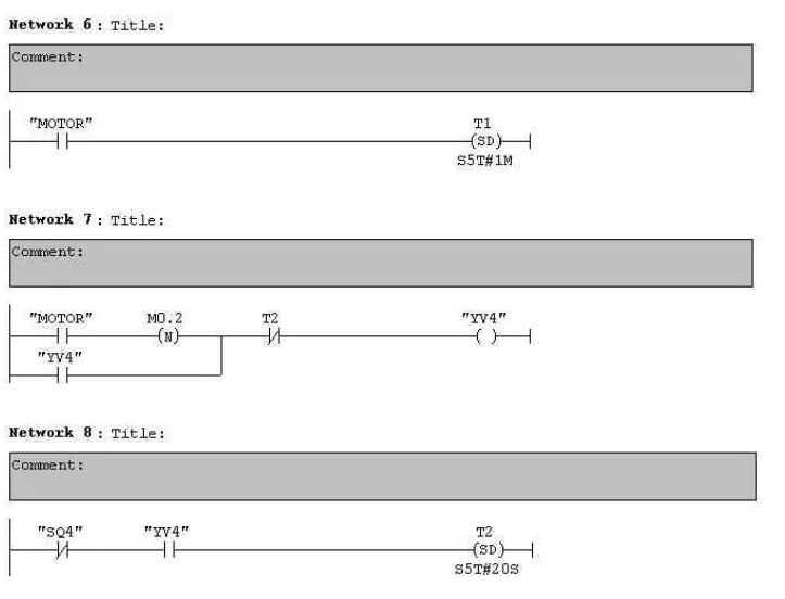
多种液体自动混合装置的PLC控制如图所示为三种液体混合装置,SQ1、SQ2、SQ3和SQ4为液面传感器,液面淹没时接通,液体A、B、C与混合液阀由电磁阀YV1、YV2、YV3、YV4控制,M为搅匀电动机,其控制要求如下:

1.初始状态
装置投入运行时,液体A、B、C阀门关闭,混合液阀门打开20s将容器放空后关闭。
2.起动操作
按下启动按钮SB1,装置开始按下列给定规律运转:
①液体A阀门打开,液体A流入容器。当液面达到SQ3时,SQ3按通,关闭液体A阀门,打开液体B阀门。
②当液面达到SQ2时,关闭液体B阀门,打开液体C阀门。
③当液面达到SQ1时,关闭液体C阀门,搅匀电动机开始搅拌。
④搅匀电动机工作1min后停止搅动,混合液体阀门打开,开始放出混合液体。
⑤当液面下降到SQ4时,SQ4由接通变断开,再过20s后,容器放空,混合液阀门关闭,开始下一周期。
3.停止操作
按下停止按钮SB2后,要将当前的混合操作处理完毕后,才停止操作(停在初始状态)
参考程序:



霓虹灯广告屏控制器的设计
用PLC对霓虹灯广告屏实现控制,其具体要求如下:

该广告屏中间8个灯管亮灭的时序为第1根亮→第2根亮→第3根亮→…→第8根亮,时间间隔为1s,全亮后,显示10s,再反过来从8→7→…→1顺序熄灭。全灭后,停亮2s,再从第8根灯管开始亮起,顺序点亮7→6→…→1,时间间隔为1s,显示20s,再从→2→…→8顺序熄灭。全熄灭后,停亮2s,再从头开始运行,周而复始。
参考梯形图程序:








设计程序,使两个气缸顺序动作,其顺序为:A1B1B0A0。
(一)气控回路

(二)位移-步骤图

(三)I型障碍信号分析

(四)PLC接线

(五)定义符号地址

(六)梯形图程序



自动售货机的PLC控制
如下图所示的自动售货机示意图,其工作要求如下:

1.此售货机可投入1元、5元或10元硬币。
2.当投入的硬币总值超过12元时,汽水按钮指示灯亮;当投入的硬
币总值超过15元时,汽水及咖啡按钮指示灯都亮。3.当汽水按钮灯亮时,按汽水按钮,则汽水排出7s后自动停止,这段时间内,汽水指示灯闪动。4.当咖啡按钮灯亮时,按咖啡按钮,则咖啡排出7s后自动停止,这段时间内,咖啡指示灯闪动。5.若投入硬币总值超过按钮所需的钱数(汽水12元,咖啡15元)时,找钱指示灯亮,表示找钱动作,并退出多余的钱。
参考答案:






