
变频器我用的最多的是ABB的变频器,其优点是设置简单,使用简单,应用宏会设定一些默认参数,只需要调整一些实际参数即可。下面举例说明:ACS510单机控制设计实例:一、选型问题:ACS510变频器是风泵......
变频器我用的最多的是ABB的变频器,其优点是设置简单,使用简单,应用宏会设定一些默认参数,只需要调整一些实际参数即可。
下面举例说明:
ACS510单机控制设计实例:
一、选型问题:
ACS510变频器是风泵专用的变频器,即一般所说的轻载变频器。功率范围较大,为1.1KW-110KW,相对于其他型号变频器经济实惠,控制方式更具针对性。
变频器型号代码详解:

选型代码详解
一般工厂用的风机水泵和风机是AV380V,其他就是功率对应型号,如图:

功率选型列表
例如:7.5kw的风机选型型号就是:ACS510-01-017A-4,其中017A为最大电流17A,实际电流参数按照电机名牌功率填写。
一般选型完毕后还需要选择控制面板,控制面板有两种,一种是数字化的,只有代码显示价格较便宜,另外一种是中文显示的,对于熟悉代码的设计人员可以选择数字化面板,而对于不熟悉的设计人员可选择中文面板,中文面板不仅有代码显示,还有简要说明。
控制面板可安装于变频器上,也可使用通讯线(本质上是网线)将面板接至控制盘柜门上,方便调试及参数设置。


可拆卸后通过网线接到盘柜面板
二、设计电路
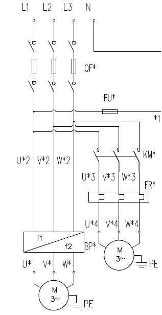
1,主电路设计,如图,L1、L2、L3、N为电源进线,QF为熔断隔离器,BP为变频器,出电缆直接接电机(距离远时加装出现电抗器),右侧KM为变频电机冷却风扇控制接触器。

2,控制电路设计,如图,虚线框DCS为远程控制,LP为就地操作柱,BP为变频器,此电路设计为无扰切换远程和就地,KA1为DCS控制启动,SB1为操作柱控制停止,SB2为操作柱控制启动,KA*1为远程控制信号继电器,设置继电器是为了防止AC220V控制线和DC24信号线施工出错,造成DCS模块传入强电烧毁。


三、变频器参数设定:
9901(语言选择)=1(中文)
9902(应用宏选择)=1(标准宏)
9905(电机额定电压)=电机名牌数据
9906(电机额定电流)=电机名牌数据
9907(电机额定功率)=电机名牌数据
9908(电机额定转速)=电机名牌数据
1001(外部命令)=1(DI1得电=启动,DI1失电=停止,对应端子短接线图)
1003(转向)=1(1=正转-方向固定为正转)
1103(给定值1选择)=1(AI1=给定来自AI1,对应端子短接线图)
1104(给定值1最小值)=0HZ(可根据实际工艺要求及电机铭牌填写)
1105(给定值1最大值)=50HZ(可根据实际工艺要求及电机铭牌填写)
1105(给定值1最大值)=50HZ(可根据实际工艺要求及电机铭牌填写)
1301(AI1低限)=20%,注意,这个低限是指控制电流的低限,因为采用4~20mA信号控制变频器,则4mA为低限,因为该信号可选范围为0~20mA,计算低限应为4mA/20mA*100%=20%。
1302(AI1高限)=100%,同理,计算高限应为20mA/20mA*100%=100%,
1402(继电器2输出)=2(运行-变频器运行时继电器动作,对应端子接线图RO2)
1403(继电器3输出)=4(故障-变频器故障时继电器动作,对应端子接线图RO3)
1501(AO1赋值)=可选101~145,分别对应频率、电流、转速等,选择需要的参数即可。
1502(AO1赋值低限)=20%,同理AI1计算方式。
1503(AO1赋值高限)=100%,同理AI1计算方式。
1504(AO1最小值)=4mA,信号范围最小值。
1505(AO1最大值)=20mA,信号范围最大值。
至此所有使用的变频器端子定义设置完毕,即可调试试运行。
以上是我的一点设计经验,有不足之处请其他同仁指正。